
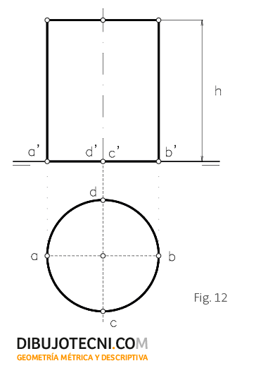
Cilindro recto y de revolución con la base contenida en el plano horizontal de proyección.
Dibujaremos el cilindro de revolución conocida su altura -h- y el radio de su circunferencia generatriz. Por ser un cilindro recto y tener una de sus bases contenida en el plano horizontal de proyección, su eje es perpendicular a este plano. Por ser un cilindro de revolución, su generatriz es una circunferencia y su sección recta será por tanto un circulo. Las bases no son sino secciones rectas producidas por el propio plano horizontal de proyección y un plano paralelo a este de cota -h- luego las bases son círculos de radios iguales al de la circunferencia generatriz.
Dibujamos en proyección horizontal la base de radio dado y en proyección vertical el contorno aparente de las generatrices del cuerpo que no son sino segmentos verticales de proyecciones horizontales a y b y de cota la altura -h- dada. Las bases circulares se muestran en proyección vertical como segmentos horizontales de longitud igual al diámetro de la circunferencia generatriz (a’, b’). Fig. 12.
Cilindro oblicuo y de revolución con la base contenida en el plano horizontal de proyección y eje frontal.
Conocido el eje frontal del cilindro por sus proyecciones diédricas r’ y r, representaremos el cilindro de revolución oblicuo de altura -h- siendo el radio de la circunferencia generatriz R dado. Las generatrices del contorno aparente del cilindro serán paralelas y distaran 2R entre sí y R del eje dado en proyección horizontal y en vertical. En proyección vertical las bases se verán como segmentos horizontales trazados por los extremos del eje hasta cortar a las generatrices del contorno aparente (f’-e’ y b’-a’).
Las bases son secciones entre el cilindro y los planos horizontal de proyección y uno paralelo a este de cota -h-. Los ángulos que forman el eje del cilindro y estos planos no son perpendiculares por lo que las secciones que generan las bases no son rectas y dan como resultado elipses. Estas elipses tienen de centro los propios extremos del eje del cilindro, quedando la dirección y ubicación de los ejes menores definida por rectas perpendiculares trazadas al eje por sus extremos. La magnitud de los semiejes menores c-d y g-k es igual al radio R de la circunferencia generatriz. Los ejes mayores f-e y b-a se calculan buscando sobre el eje o su prolongación las proyecciones horizontales de los extremos de las bases representadas ya en proyección vertical. Trazamos las elipses por métodos geométricos y determinamos las partes vistas y ocultas del cuerpo.
Podemos calcular puntos de las elipses (por ejemplo el punto x) a partir de algunas generatrices del cuerpo (en el ejemplo la t’, t). Para determinar más generatrices del cilindro calcularemos la sección recta en el cilindro producida por un plano auxiliar P que sea perpendicular a su eje.
Dividimos la circunferencia sección ya en verdadera magnitud en, por ejemplo, ocho partes iguales obteniendo de este modo el trazado de otras tantas generatrices. En proyección vertical los puntos de incidencia de estas generatrices con las bases representadas determinarán nuevos puntos de la curva que nos servirán para mejorar gráficamente su trazado en proyección horizontal. Fig. 13

Cilindro oblicuo y de revolución con la base contenida en el plano horizontal de proyección y eje oblicuo.
Conocidas las proyecciones del eje E (e’, e) la altura H y el radio de la circunferencia generatriz, representaremos el cilindro. Las generatrices del contorno distarán del eje el radio R dado en ambas proyecciones, completamos la representación en proyección vertical del cilindro que es un romboide. En proyección horizontal, las bases son elipses, para determinar sus ejes y poder trazarlas geométricamente procederemos del siguiente modo.
Tomamos un plano auxiliar proyectante vertical P que contenga al eje E del cilindro, eje que abatimos sobre el plano horizontal de proyección tomando como charnela la traza horizontal del plano auxiliar. Determinaremos los ejes mayores de las elipses f-n y a-b, a partir del eje abatido, trazándole paralelas a distancia R hasta cortar en F1, N1, A1 y B1 a la propia traza P del plano auxiliar y a una paralela a esta trazada por el extremo del eje abatido. Trazamos rectas normales a la proyección horizontal del eje por los puntos obtenidos y encontramos en su intersección con este los extremos de los ejes de las elipses buscados. Los ejes menores c-d y g-k no presentan dificultad pues están en las intersecciones de las generatrices del contorno en proyección horizontal con rectas perpendiculares trazadas al eje del cilindro por sus extremos.
Para determinar con exactitud la situación en proyección horizontal de las generatrices del contorno en proyección vertical (Y-W y X-Z) trazaremos por un punto O del eje un plano proyectante vertical Q y uno frontal T. El plano T contiene a las generatrices mencionadas y el plano Q las corta en los puntos 1 y 2. Las proyecciones horizontales de estos puntos están necesariamente sobre la traza T. Por las proyecciones horizontales de 1 y 2 deben pasar las proyecciones horizontales de las generatrices W-Y y X-Z respectivamente que trazamos paralelas al eje. Fig. 14
